Zweimetall-Trennklemme mit Schirm

Ausführung Zweimetall für den Zusammenschluss von Leitungen aus unterschiedlichen Werkstoffen.

1 Product

Part No. 460147 ZMTK 6.10 FL30.40 CU STTZN

GTIN 4013364025349, Customs tariff No. (EU): 85359000, Gross weight: 350.00 g, PU: 1.00 Stk.


Images

Additional information

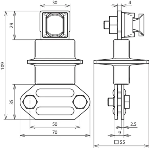
Zweimetall-Trennklemme mit Schirm
Zweimetall-Trennklemmen mit Schirm für den Zusammenschluss von Leitungen aus
unterschiedlichen Werkstoffen
Werkstoff: Cu / St/tZn
Klemmbereich Rd / Fl: 6-10 / 30-40 mm
Normenbezug: DIN EN 62561-1

Fabrikat: DEHN
Typ: ZMTK 6.10 FL30.40 CU STTZN
Art.-Nr.: 460147
oder gleichwertig.

Certificates

 

Technical data

Werkstoff Cu / St/tZn
Klemmbereich Rd / Fl 6-10 / 30-40 mm
Schirm Kunststoff grau
Normenbezug DIN EN 62561-1
*) Genaue Zuordnung siehe Prüfzertifikat.

Product 460147 was added to Notepad.

Product 460147 was added to the cart.


back to top