DEHNcon-H

Bei der Verlegung von blanken, nicht isolierten Drähten der Fangeinrichtung unmittelbar auf dem Dach muss entsprechend dem Stand der Technik und der aktuellen Blitzschutznorm DIN EN 62305-3 (VDE 0185-305-3) der Trennungsabstand zu unterhalb der Dachfläche verlegten elektrischen und metallenen Systemen eingehalten werden. Unterhalb der Dacheindeckung befinden sich vielfach Leitungsinstallationen, Rohrsysteme und metallene Teile in unmittelbarer Nähe zu Fangeinrichtungen/Ableitungen und können ein Näherungsproblem darstellen. Die Lösung für solche Näherungsprobleme sind getrennte Fangeinrichtungen mit hochspannungsisolierten Ableitungen.

– Neues System für die Getrennte Fangeinrichtung von Sende-/Empfangsanlagen (Parabol-, terrestrische Antennen) oder von gesamten Gebäuden oder Gebäudeteilen
– Optisch angepasste Ausführung durch innere Verlegung der HVI light Leitung im Stützrohr, reduzierte Abmessung der Stützrohre (Al-Rohr 40x5 mm) mit geringem Gewicht des gesamten Aufbaus, auch für die Montage an bestehenden Antennenstandrohren
– Der innenliegende Endverschluss ist mit einem flexiblen NIRO-Band für den Anschluss an den Potentialausgleich am unteren Ende des Stützrohres herausgeführt
– Hochspannungsfeste isolierte Ableitung zum Einhalten des Trennungsabstandes zu elektrisch leitenden Teilen nach DIN EN 62305-3 (VDE 0185-305-3)
– Äquivalenter Trennungsabstand s ≤ 45 cm (in Luft) oder s ≤ 90 cm (fester Baustoff)
– Stützrohr mit Isolierstrecke aus glasfaserverstärktem Kunststoff (GFK) Rohr Ø30 mm
– Materialfaktor km = 0,7
– Farbe lichtgrau, UV-stabilisiert

Die HVI light Leitung erfüllt die Anforderungen nach DIN IEC/TS 62561-8 (VDE V 0185-561-8).

Details

Detail – Stützrohr mit Leitungsverlegung.
lorem ipsum

HVI light Leitung im Stützrohr mit Fangspitze

Mit innenliegendem Endverschluss und Fangspitze NIRO Ø10 mm

4 Products

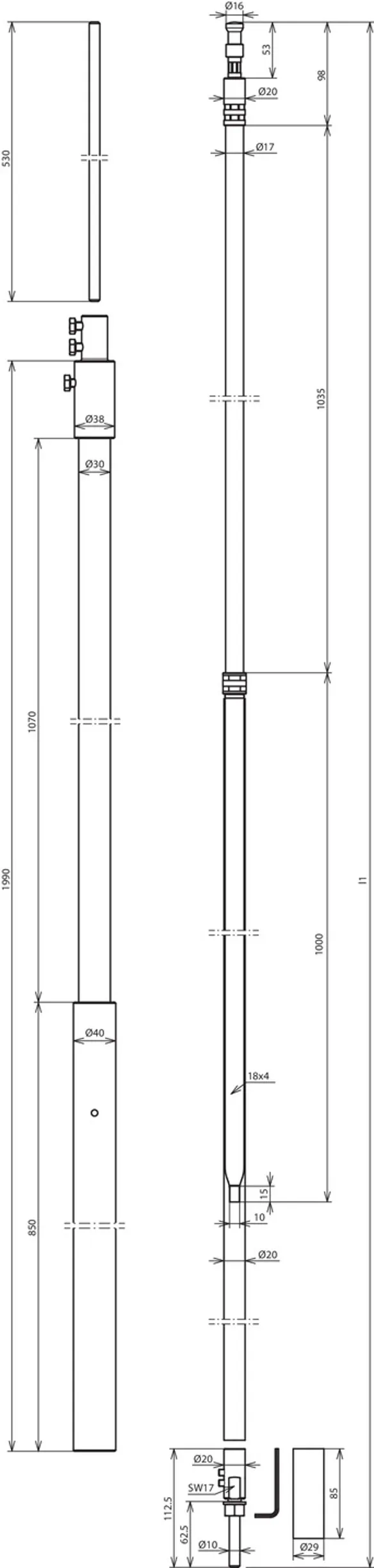
Part No. 819255 HVI LI 20 L6M SR1990 FSP500 GFK AL V2A

GTIN 4013364255371, Customs tariff No. (EU): 85389099, Gross weight: 6.84 kg, PU: 1.00 Stk.

Predecessor

Images

Additional information

DEHNcon-H HVI light Leitung im Stützrohr 1990mm mit Fangspitze 500mm
DEHNcon-H Getrennte Fangeinrichtung
z.B. von Sende-/Empfangsanlagen
(Parabol-, terrestrische Antennen).
Optisch angepasste Ausführung durch innere Verlegung
der HVI light Leitung im Stützrohr
Hochspannungsfeste isolierte Ableitung zum Einhalten
des Trennungsabstandes zu elektrisch leitenden Teilen
nach DIN EN 62305-3 (VDE 0185-305-3)
Äquivalenter Trennungsabstand s =< 45 cm (in Luft)
oder s =< 90 cm (fester Baustoff).
Die Stützrohre sind nach
Eurocode 1 (DIN EN 1991-1-4 + DIN EN 1991-1-4/NA) dimensioniert.
HVI light Leitung im Stützrohr verlegt, mit speziellem innenliegendem
Endverschluss und Fangspitze Ø10 mm Länge 500 mm.
Werkstoff Stützrohr: GFK / Al
Länge Stützrohr: 1990 mm
Durchmesser Ø Leitung: 20 mm
Farbe Leitung: grau ●
Werkstoff Leiter: Cu
Äquivalenter Trennungsabstand s (in Luft): ≤ 45 cm
Mindestbestelllänge: 6 m
Max. Böenwindgeschwindigkeit: (max. freie Länge 1890 mm, 1x HVI light innen) 240 km/h
Max. freie Länge: 1890 mm
Min. Einspannlänge: 600 mm
Normenbezug: DIN IEC/TS 62561-8 (VDE V 0185-561-8)

Fabrikat: DEHN
Typ: HVI LI 20 L6M SR1990 FSP500 GFK AL V2A
Art.-Nr.: 819255
oder gleichwertig.

Certificates

 

Technical data

Werkstoff Stützrohr GFK / Al
Länge Stützrohr 1990 mm
Länge Fangspitze 500 mm
Werkstoff Leiter Cu
Äquivalenter Trennungsabstand s (in Luft) ≤ 45 cm
Mindestbestelllänge 6 m
Max. Böenwindgeschwindigkeit (max. freie Länge 1890 mm, 1x HVI light innen) 240 km/h
Max. freie Länge 1890 mm
Min. Einspannlänge 600 mm
Normenbezug DIN IEC/TS 62561-8 (VDE V 0185-561-8)

Product 819255 was added to Notepad.

Product 819255 was added to the cart.

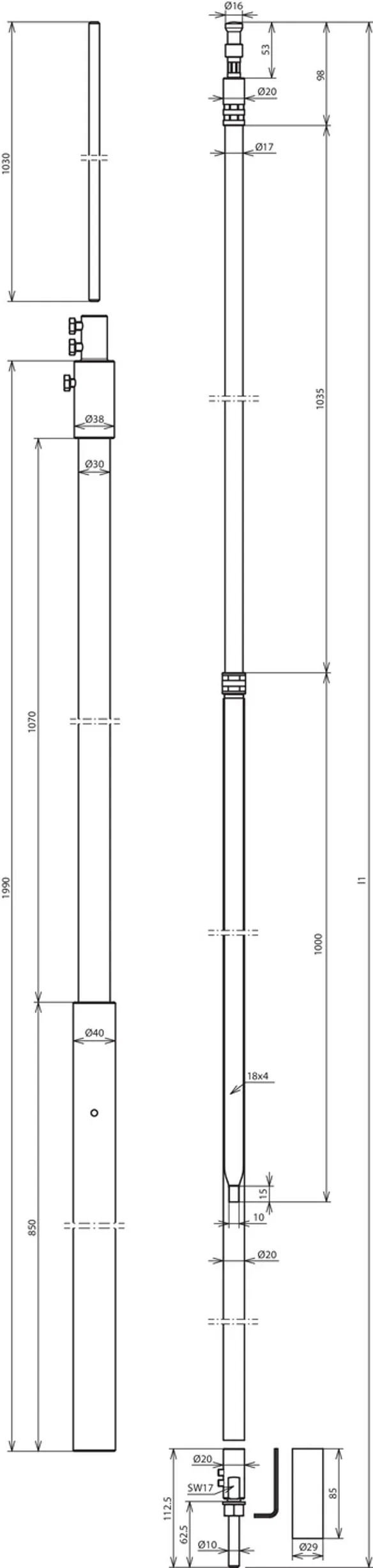
Part No. 819256 HVI LI 20 L6M SR1990 FSP1000 GFK AL V2A

GTIN 4013364255388, Customs tariff No. (EU): 85389099, Gross weight: 7.14 kg, PU: 1.00 Stk.

Predecessor

Images

Additional information

DEHNcon-H HVI light Leitung im Stützrohr 1990mm mit Fangspitze 1000mm
DEHNcon-H Getrennte Fangeinrichtung
z.B. von Sende-/Empfangsanlagen
(Parabol-, terrestrische Antennen).
Optisch angepasste Ausführung durch innere Verlegung
der HVI light Leitung im Stützrohr
Hochspannungsfeste isolierte Ableitung zum Einhalten
des Trennungsabstandes zu elektrisch leitenden Teilen
nach DIN EN 62305-3 (VDE 0185-305-3)
Äquivalenter Trennungsabstand s =< 45 cm (in Luft)
oder s =< 90 cm (fester Baustoff).
Die Stützrohre sind nach
Eurocode 1 (DIN EN 1991-1-4 + DIN EN 1991-1-4/NA) dimensioniert.
HVI light Leitung im Stützrohr verlegt, mit speziellem innenliegendem
Endverschluss und Fangspitze Ø10 mm Länge 1000 mm.
Werkstoff Stützrohr: GFK / Al
Länge Stützrohr: 1990 mm
Durchmesser Ø Leitung: 20 mm
Farbe Leitung: grau ●
Werkstoff Leiter: Cu
Äquivalenter Trennungsabstand s (in Luft): ≤ 45 cm
Mindestbestelllänge: 6 m
Max. Böenwindgeschwindigkeit: (max. freie Länge 2390 mm, 1x HVI light innen) 200 km/h
Max. freie Länge: 2390 mm
Min. Einspannlänge: 600 mm
Normenbezug: DIN IEC/TS 62561-8 (VDE V 0185-561-8)

Fabrikat: DEHN
Typ: HVI LI 20 L6M SR1990 FSP1000 GFK AL V2A
Art.-Nr.: 819256
oder gleichwertig.

Certificates

 

Technical data

Werkstoff Stützrohr GFK / Al
Länge Stützrohr 1990 mm
Länge Fangspitze 1000 mm
Werkstoff Leiter Cu
Äquivalenter Trennungsabstand s (in Luft) ≤ 45 cm
Mindestbestelllänge 6 m
Max. Böenwindgeschwindigkeit (max. freie Länge 2390 mm, 1x HVI light innen) 200 km/h
Max. freie Länge 2390 mm
Min. Einspannlänge 600 mm
Normenbezug DIN IEC/TS 62561-8 (VDE V 0185-561-8)

Product 819256 was added to Notepad.

Product 819256 was added to the cart.

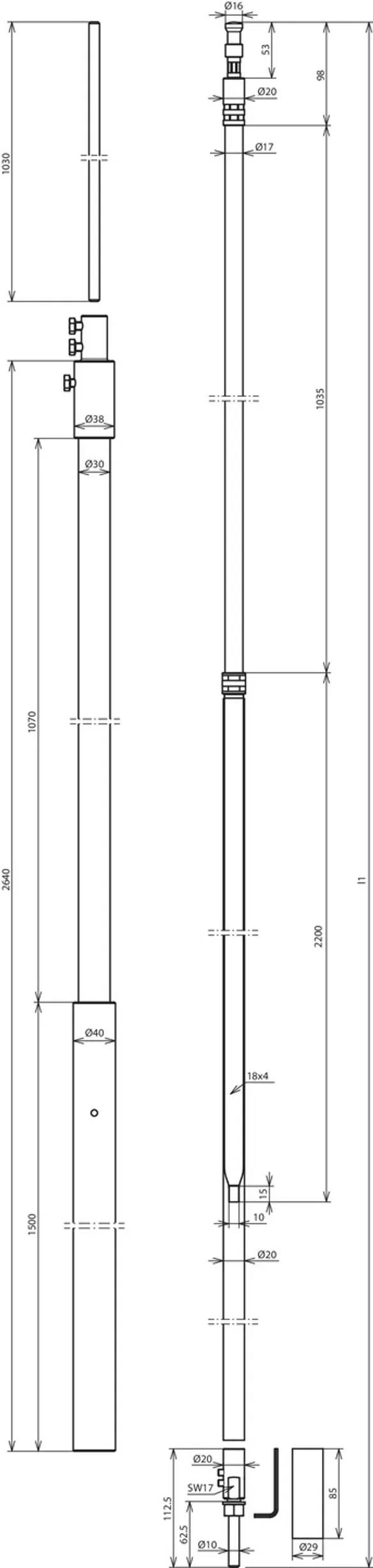
Part No. 819257 HVI LI 20 L6M SR2640 FSP500 GFK AL V2A

GTIN 4013364255395, Customs tariff No. (EU): 85389099, Gross weight: 7.79 kg, PU: 1.00 Stk.

Predecessor

Images

Additional information

DEHNcon-H HVI light Leitung im Stützrohr 2640mm mit Fangspitze 500mm
DEHNcon-H Getrennte Fangeinrichtung
z.B. von Sende-/Empfangsanlagen
(Parabol-, terrestrische Antennen).
Optisch angepasste Ausführung durch innere Verlegung
der HVI light Leitung im Stützrohr
Hochspannungsfeste isolierte Ableitung zum Einhalten
des Trennungsabstandes zu elektrisch leitenden Teilen
nach DIN EN 62305-3 (VDE 0185-305-3)
Äquivalenter Trennungsabstand s =< 45 cm (in Luft)
oder s =< 90 cm (fester Baustoff).
Die Stützrohre sind nach
Eurocode 1 (DIN EN 1991-1-4 + DIN EN 1991-1-4/NA) dimensioniert.
HVI light Leitung im Stützrohr verlegt, mit speziellem innenliegendem
Endverschluss und Fangspitze Ø10 mm Länge 500 mm.
Werkstoff Stützrohr: GFK / Al
Länge Stützrohr: 2640 mm
Durchmesser Ø Leitung: 20 mm
Farbe Leitung: grau ●
Werkstoff Leiter: Cu
Äquivalenter Trennungsabstand s (in Luft): ≤ 45 cm
Mindestbestelllänge: 6 m
Max. Böenwindgeschwindigkeit: (max. freie Länge 2540 mm, 1x HVI light innen) 240 km/h
Max. freie Länge: 2540 mm
Min. Einspannlänge: 600 mm
Normenbezug: DIN IEC/TS 62561-8 (VDE V 0185-561-8)

Fabrikat: DEHN
Typ: HVI LI 20 L6M SR2640 FSP500 GFK AL V2A
Art.-Nr.: 819257
oder gleichwertig.

Certificates

 

Technical data

Werkstoff Stützrohr GFK / Al
Länge Stützrohr 2640 mm
Länge Fangspitze 500 mm
Werkstoff Leiter Cu
Äquivalenter Trennungsabstand s (in Luft) ≤ 45 cm
Mindestbestelllänge 6 m
Max. Böenwindgeschwindigkeit (max. freie Länge 2540 mm, 1x HVI light innen) 240 km/h
Max. freie Länge 2540 mm
Min. Einspannlänge 600 mm
Normenbezug DIN IEC/TS 62561-8 (VDE V 0185-561-8)

Product 819257 was added to Notepad.

Product 819257 was added to the cart.

Part No. 819258 HVI LI 20 L6M SR2640 FSP1000 GFK AL V2A

GTIN 4013364255418, Customs tariff No. (EU): 85389099, Gross weight: 8.09 kg, PU: 1.00 Stk.

Predecessor

Images

Additional information

DEHNcon-H HVI light Leitung im Stützrohr 2640mm mit Fangspitze 1000mm
DEHNcon-H Getrennte Fangeinrichtung
z.B. von Sende-/Empfangsanlagen
(Parabol-, terrestrische Antennen).
Optisch angepasste Ausführung durch innere Verlegung
der HVI light Leitung im Stützrohr
Hochspannungsfeste isolierte Ableitung zum Einhalten
des Trennungsabstandes zu elektrisch leitenden Teilen
nach DIN EN 62305-3 (VDE 0185-305-3)
Äquivalenter Trennungsabstand s =< 45 cm (in Luft)
oder s =< 90 cm (fester Baustoff).
Die Stützrohre sind nach
Eurocode 1 (DIN EN 1991-1-4 + DIN EN 1991-1-4/NA) dimensioniert.
HVI light Leitung im Stützrohr verlegt, mit speziellem innenliegendem
Endverschluss und Fangspitze Ø10 mm Länge 1000 mm.
Werkstoff Stützrohr: GFK / Al
Länge Stützrohr: 2640 mm
Durchmesser Ø Leitung: 20 mm
Farbe Leitung: grau ●
Werkstoff Leiter: Cu
Äquivalenter Trennungsabstand s (in Luft): ≤ 45 cm
Mindestbestelllänge: 6 m
Max. Böenwindgeschwindigkeit: (max. freie Länge 3040 mm, 1x HVI light innen) 201 km/h
Max. freie Länge: 3040 mm
Min. Einspannlänge: 600 mm
Normenbezug: DIN IEC/TS 62561-8 (VDE V 0185-561-8)

Fabrikat: DEHN
Typ: HVI LI 20 L6M SR2640 FSP1000 GFK AL V2A
Art.-Nr.: 819258
oder gleichwertig.

Certificates

 

Technical data

Werkstoff Stützrohr GFK / Al
Länge Stützrohr 2640 mm
Länge Fangspitze 1000 mm
Werkstoff Leiter Cu
Äquivalenter Trennungsabstand s (in Luft) ≤ 45 cm
Mindestbestelllänge 6 m
Max. Böenwindgeschwindigkeit (max. freie Länge 3040 mm, 1x HVI light innen) 201 km/h
Max. freie Länge 3040 mm
Min. Einspannlänge 600 mm
Normenbezug DIN IEC/TS 62561-8 (VDE V 0185-561-8)

Product 819258 was added to Notepad.

Product 819258 was added to the cart.


back to top